Os assentos automotivos evoluíram muito ao longo dos anos, passando de simples estruturas de apoio para verdadeiros centros de conforto e tecnologia. Hoje, modelos de luxo oferecem aquecimento, ventilação e até massagem. A Mercedes-Benz, referência mundial nesse quesito, registrou uma nova patente que promete levar o conceito a outro nível: um massageador de cabeça integrado ao encosto.
A ideia pode parecer curiosa à primeira vista, mas é uma extensão lógica da tecnologia já existente. Segundo o documento, o objetivo é reduzir tensão muscular, fadiga e dores de cabeça, problemas comuns que podem prejudicar a experiência de dirigir.
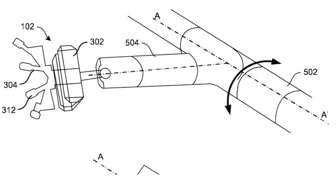
O sistema seria composto por um centro instalado no encosto de cabeça, conectado a braços ajustáveis capazes de se mover, girar e vibrar, cobrindo toda a região da cabeça do ocupante. Um motor elétrico acionaria o mecanismo, que poderia ser integrado ao conjunto de massagem já disponível nos bancos da marca.
Sensores detectariam a altura e posição da cabeça, ajustando automaticamente o ponto de contato para oferecer massagem precisa. A ativação poderia ser feita por meio de um botão no sistema de infoentretenimento ou até mesmo via smartphone, permitindo personalização da intensidade e da área de atuação.
A Mercedes-Benz já oferece assentos com massagem para costas e pernas em modelos como o Classe S e o EQS SUV, e essa patente amplia o alcance da tecnologia para a região craniana. A proposta é tornar viagens longas e até mesmo os engarrafamentos menos estressantes.
Como ocorre com muitas patentes, não há garantia de que o recurso será efetivamente produzido. Muitas vezes, as montadoras registram ideias para proteger conceitos e evitar que concorrentes se apropriem deles. Ainda assim, o massageador de cabeça pode representar uma vantagem de marketing frente a rivais como BMW, Audi e Lexus, que também investem em soluções de conforto premium.
O registro reforça a estratégia da Mercedes-Benz de se manter na vanguarda do luxo automotivo. Em um cenário em que marcas disputam clientes com recursos de conectividade, eletrificação e assistência à condução, o conforto físico dos ocupantes continua sendo um diferencial.
Se implementado, o massageador de cabeça poderia se tornar um atrativo para consumidores de alto padrão, especialmente em mercados como Europa, China e Brasil, onde o segmento de luxo cresce com força. O desafio será equilibrar inovação com praticidade, já que alguns consumidores podem considerar o recurso supérfluo.
Mecânica Online® – Mecânica do jeito que você entende.
Encosto de cabeça ativo – Estrutura do banco projetada para proteger o pescoço em colisões e, em versões avançadas, oferecer ajustes automáticos de conforto.
Sensor de posição – Dispositivo que identifica a altura e o posicionamento do ocupante, permitindo ajustes automáticos em sistemas de segurança e conforto.
Sistema de massagem automotivo – Conjunto de motores e atuadores integrados ao banco que simulam movimentos de pressão e vibração, proporcionando relaxamento durante a condução.

